Инновация в области герметизации: зарегистрирован патент "Способ ликвидации межколонного давления и герметизирующий состав для его осуществления"
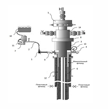
Полезная модель относится к нефтегазовой промышленности, в частности, к способам, предназначенным для исследования, диагностики и устранения причин межколонных давлений, а также к составам для ликвидации межколонных перетоков флюидов в нефтяных и газовых скважинах. Технический результат заключается в улучшении герметизирующих свойств составов за счет улучшения его адгезионных и герметизирующих свойств, а также в улучшении проникающих свойств, увеличении срока действия эффекта герметизации. Кроме того, заявленный способ позволяет сокращает сроки для оперативного устранения и ликвидации межколонного давления. Заявленный технический результат достигается тем, что предложен способ ликвидации межколонного давления, включающий использование исследовательской диагностической лаборатории для определения параметров межколонного пространства, стравливание межколонного давления, определение скорости восстановления межколонного давления, опрессовку с закачиванием технической жидкости, причем в качестве технической жидкости для закачки в межколонное пространство используют раствор герметизирующего состава который состоит из композиции смол и отвердителя на основе аминов.
Подробнее по https://gosreestr.kazpatent.kz
- Патент на «Щит постоянного тока» — шаг к безопасному энергоснабжениюЗарегистрирован патент на «Щит постоянного тока» — устройство для надежного распределения и защиты электрических цепей. Новое решение обеспечивает бесперебойное питание систем автоматики, связи и инженерных сетей, повышая устойчивость и эффективность работы промышленных объектов.
- Съемный лоток для кернового ящика и способ для приема керна в съемные лотки с последующим помещением в керновый ящик, согласно глубин литологических разностейЗарегистрирован патент на съемный лоток для кернового ящика и способ приема керна с учетом литологических разностей по глубине. Изобретение упрощает сортировку, хранение и анализ керна, повышая точность геологоразведки. Решение актуально для буровых работ и научных исследований.




